位置:CC首码网 > 项目预警
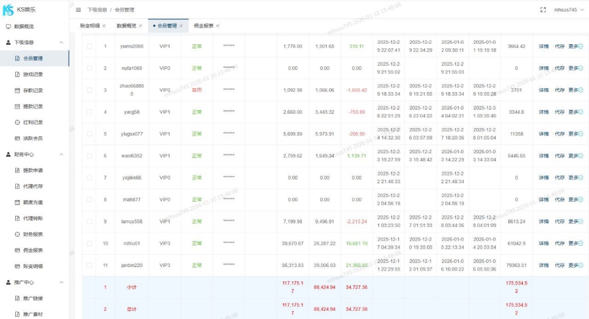
曝光ks娱乐杀猪盘
ks娱乐2026-01-10
相关推荐
荐起底Cybitx(赛比特)“保本公式”:当数学成为骗子的遮羞布,你算得越清楚,亏得越彻底

大家好,我是反诈博主老李。 在上一篇文章里,我讲了CYBITX如何用“人生哲学”给你下套。今天咱们来聊聊更高级的...
荐崩盘前的疯狂——“东点股险”的“香港牌照”和“行业背书”到底值几个钱?

大家好,我是老李。 前面咱们聊了“东点股险”的洗脑话术,今天老李想换个角度,从他们自己发的那些“官方材料...
荐龙铭策选(智汇社)股票跟单骗局即将崩盘跑路

年后首次更新,多多在这里先预祝各位韭菜今年都能上岸!把各大项目方薅遍!话不多说老样子直接上干货,今年首...
荐鼎鸿鑫源(弘瑞达盛)股票跟单类资金盘骗局,强制要求会员增加资金到2w,部分会员提现不到账,即将崩盘跑路!

鼎鸿鑫源(弘瑞达盛)股票跟单类资金盘骗局,月初的时候昊天曝光过一次,这几天不少受害者爆料平台开始强制要...
荐深扒“玖福莱”骗局末路疯狂:从“财富神话”到“强制收割”的生命周期全透视
各位投资者,如果你还在关注那个号称“日收益2%”的玖福莱(又称阿瑞斯财富)股票带单平台,请立刻停下!这不是...
荐紧急预警!“盛康俱乐部”已亮红灯,“单割”行为是跑路前最后的疯狂收割

一场精心策划的骗局,在收网前总会露出它最狰狞的獠牙。近期,一个名为“盛康俱乐部(集富众盈”)的平台,正以“...
荐撕开“骏界启源”的画皮:日化1.5%的“暴富”神话,实为血本无归的庞氏骗局
各位网友,如果你最近在社交群或朋友圈看到“注册送70元”、“签到日赚4元”、“投资日化1.5%-11%”的宣传,并且项...
sngie1个月前1.60w#骏界启源
荐曝光:“米链国际”melink分红类资金盘,大量网推拉人入局,别去当韭菜!

粉丝爆料这几天一个叫米链国际melink的分红类资金盘骗局,是铺天盖地的宣传,号称自己是2026第一大盘,平台包装宣...
荐紧急曝光:“维塔金 VITAKING”黄金资金盘已开始“单割”,跑路前兆已现,还在参与的速度撤离!

今天给大家曝光一个叫“维塔金VITAKING”的黄金资金盘项目,包装得特别高大上,不少粉丝后台反馈,提现不到账,被...
荐VAX原班人马换皮收割,闪电鲨AI高频量化资金盘骗局继续收割韭菜,这次千万别上当啦!

近期不少VAX(VaultX)骗局的受害者给重楼曝光此盘崩盘跑路后,诈骗团伙换了个名字再次开盘了闪电鲨AI高频量化和华...
长城易趣寄售类互助资金盘骗局,大量投诉反诈文章,你还有最后的机会撤离,下个月前绝对要暴雷崩盘了!

长城易趣这个抢单寄售类互助盘骗局,之前昊天曝光过几次都被骗子投诉下架了,最近询问这个项目的人很多,今天...
昊天评盘界13小时前1.03K#长城易趣
合利集团杀猪盘里的“四期不中”:不是运气差,是赵明哲在后台给你设了局

很多人在合利集团(新葡京)输钱后,总是捶胸顿足:“怎么我就这么倒霉?连续四期都不中!”可他们不知道的是...
老李13小时前2.13K#合利集团
米拉博资金盘深度预警:从“高息诱惑”到“单割跑路”,这五个信号你一个都不能忽视

别等钱没了,才想起老李的话。反诈十年,我总结出一个规律:所有资金盘崩盘前,都会露出同样的“狐狸尾巴”。...
2026年,如何通过闲鱼矩阵微付费实现获客增长?很多人还没看懂的精准流量入口【复盘】

前沿最近在我们在测试出来的一个新的流量渠道付费分享给大家,希望大家看完都有所收获;最近我们把第一期闲鱼...
镇山的虎13小时前2.60K
风控:“国文汇通”-挂靠江苏文交所的资金盘,老用户收益兑付困难,急需新人填坑

最近有不少读者叫我聊一聊挂靠江苏文交所的“国文汇通”项目。我的建议撤离时间:2026年5月前,必须全部离场。老...
个人学习思考23小时前2.56K#国文汇通
当“老字号”沦为坑老工具:福太医灵芝酒案的责任之困与维权启示

2026年3·15国际消费者权益日之际,消费日报系列报道直指“福太医至宝灵芝酒”违规宣传乱象,这款由烟台中亚至宝...
老李昨天1.36K
警惕“宁聚源”传销式推广:推荐奖励1% + 邀请好友,拉人头返利涉嫌非法传销

项目名称:宁聚源资金盘骗局除了高息诱惑,另一个核心特征就是“拉人头”。在“宁聚源”APP的页面中,明确标注...
反诈老李昨天2.95K#宁聚源
联娱互创改名收割!原金满地影视投资骗局卷土重来!高度预警,崩盘在即!

近期多名粉丝爆料,联娱互创项目春节期间坑害上百人,它并非新盘子,而是此前已被曝光的“金满地”影视投资平...
用户最新反馈:山海证券出金问题已解决,本金盈利双双到账

#作为外汇平台,客流量大,投资者使用过程中产生各种大大小小的问题都正常,所以平台有客诉其实是正常的,作为...
小汇咖昨天2.09K#山海证券ZFX
入金容易出金难?用户投诉这家平台:出金竟要提供手机录制银行流水!

#入金速度看技术,出金速度看人品。很多交易者都有过这样的经历:入金时平台热情似火,出金时却冷若冰霜,各种...
小汇咖2天前3.54K#山海证券ZFX
点击排行
近期更新
- 长城易趣寄售类互助资金盘骗局,大量投诉反诈文章,你还有最后的机会撤离,下个月前绝对要暴雷崩盘了!
- 合利集团杀猪盘里的“四期不中”:不是运气差,是赵明哲在后台给你设了局
- 米拉博资金盘深度预警:从“高息诱惑”到“单割跑路”,这五个信号你一个都不能忽视
- 跨境电商运营怎么做?手把手教你搭个靠谱的美国外贸独立站
- 跨境仿牌独立站怎么做?靠谱的跨境电商独立站推荐+建站成本全说清
- 2026年,如何通过闲鱼矩阵微付费实现获客增长?很多人还没看懂的精准流量入口【复盘】
- 风控:“国文汇通”-挂靠江苏文交所的资金盘,老用户收益兑付困难,急需新人填坑
- 未来智链:披着“质押挖矿”外衣的庞氏骗局,你的USDT正在养肥谁?
- 当“老字号”沦为坑老工具:福太医灵芝酒案的责任之困与维权启示







